13818867255
一片式球阀,是内螺纹球阀及对焊连接球阀分为整体式。一片式球阀阀体铸造采用台湾引进的先进工艺,结构合理、造型美观。一片式球阀阀座采用弹性密封结构,密封可靠,启闭轻松。 阀杆采用有倒密封的下装式结构,阀腔异常升压时,阀杆不会被冲出。接形式另有对焊(BW)承插焊(SW),并均可带国际标准ISO支架平台和锁定装置。

一片式球阀,是内螺纹球阀及对焊连接球阀分为整体式。一片式球阀阀体铸造采用台湾引进的先进工艺,结构合理、造型美观。一片式球阀阀座采用弹性密封结构,密封可靠,启闭轻松。 阀杆采用有倒密封的下装式结构,阀腔异常升压时,阀杆不会被冲出。接形式另有对焊(BW)承插焊(SW),并均可带国际标准ISO支架平台和锁定装置。一片式球阀设置90°开关定位机构,根据需要加锁以防止误操作,驱动方式:手动、电动、气动。
公称压力:1.6-6.4MPa
适用温度范围:-20~232℃~350℃
适用介质:水、油、气及某此腐蚀性液体(W.O.G)
螺纹类型:G·NPT.BSPT.BSP.DIN259/2999
一片式球阀适用于PN1.0~4.0MPa,工作温度-29~180℃(密封圈为增强聚四氟乙烯)或-29~300℃(密封圈为对位聚苯)的各种管路上,用于截断或接通管路中的介质。 选用不同的材质,可分别适用于水、蒸汽、油品、硝酸、醋酸等多种介质。
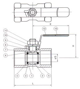
| 序号 | 零件名称Part name | 材质Material | ![]() |
|---|---|---|---|
| 1 | 密封圈Joint ring | 聚四氟乙烯PTFE | |
| 2 | 球体Ball | 不锈钢SS316 | |
| 3 | 密封垫Joint gasket | 聚四氟乙烯PTFE | |
| 4 | 阀盖Cap | 不锈钢SS316 | |
| 5 | 阀体Body | 不锈钢CF8M | |
| 6 | 阀杆Stem | 不锈钢SS316 | |
| 7 | 止推垫圈Thrusy washer | 聚四氟乙烯PTFE | |
| 8 | 填料Stem packing | 聚四氟乙烯PTFE | |
| 9 | 填料压盖螺母Gland nut | 不锈钢SS304 | |
| 10 | 垫圈Stem washer | 不锈钢SS304 | |
| 11 | 阀杆螺母Stem nut | 不锈钢SS304 | |
| 12 | 手柄套Handle cover | 塑料Plastic | |
| 13 | 手柄Handle | 不锈钢SS304 |
| SIZE | 1/4″ | 3/8″ | 1/2″ | 3/4″ | 1″ | 11/4″ | 11/2″ | 2″ |
|---|---|---|---|---|---|---|---|---|
| D | 5.0 | 7.0 | 9.2 | 12.5 | 15.0 | 20.0 | 24.5 | 32 |
| L | 40 | 45 | 58 | 60 | 72 | 78 | 83 | 100 |
| H | 35 | 37 | 43.5 | 47 | 50 | 57 | 69 | 74.5 |
| E | 64 | 70 | 90 | 90 | 103 | 103 | 127 | 127 |
| 重量WT(g) | 55 | 95 | 165 | 250 | 405 | 525 | 850 | 1400 |
版权所有 © 纽浪(上海)阀门科技有限公司 备案号:沪ICP备14038546号-2 图文来源网络 如有侵权请联系删除
技术支持: 纽浪(上海)阀门